| Asus показала вторую модель превращающегося в планшет смартфона |

Компания Asus представила вторую модель PadFone - смартфона на Android, который может превращаться в планшет с помощью док-станции с 10,1-дюймовым экраном. Смартфон стал более мощным и получил 4,7-дюймовый экран и новую камеру. В продажу аппарат поступит до конца 2012 года....
»»
|
 |
 |
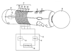
| Sony запатентует нагревающийся игровой контроллер |

Компания Sony в патентной заявке описала игровой контроллер, способный изменять собственную температуру в процессе игры. Устройство нагревается, если игровой персонаж стреляет из оружия (чем больше выстрелов, тем теплее контроллер) или же если его поражает неприятельским огнем....
»»
|
 |
 |
| Amazon приписали план купить права на процессоры OMAP Интернет-магазин Amazon, по неофициальным данным, ведет с Texas Instruments переговоры о покупке подразделения по производству мобильных процессоров OMAP. Эти процессоры задействованы в планшетах Kindle Fire. Покупка может обойтись Amazon в несколько миллиардов долларов. | Google Play научится искать вирусы на смартфонах
В APK-файле новой версии Google Play обнаружены упоминания о новом антивирусном сервисе для Android. Он выполняет две задачи: сканирует уже установленные на устройство программы в поисках вредоносной активности и проверяет новые приложения, которые пользователь загружает из Google Play. |
 |
 |
Microsoft представила музыкальный сервис
Microsoft представила музыкальный сервис Xbox Music. Его каталог насчитывает более 30 миллионов треков, которые можно слушать в потоковом режиме или загружать на устройства. Сервис предусматривает как бесплатную, так и платную модели использования. Xbox Music предназначен для Windows 8, WP8 и Xbox 360. | Microsoft открыла предзаказ на Windows 8
Компания Microsoft открыла предзаказ на операционную систему Windows 8 Pro. Предзаказать можно как DVD с апгрейдом Windows XP, Vista и Windows 7 до Windows 8 Pro, так и компьютеры крупнейших производителей с предустановленной новой ОС. Windows 8 выйдет 26 октября. |
 |
 |
В 3D-принтеры внедрят защиту от копирования
Компания Intellectual Ventures получила патент на метод защиты цифровых моделей для 3D-принтеров от нелегального копирования. Предполагается, что при печати того или иного объекта 3D-принтер будет сверяться с базой данных и выяснять, есть ли у пользователя права на цифровую модель. | Швейцарские железнодорожники поделились с Apple часами
Швейцарские федеральные железные дороги и Apple заключили соглашение о лицензировании. Согласно ему, Apple имеет право использовать в своих устройствах образ швейцарских железнодорожных часов. За это компания Тима Кука будет платить железнодорожникам отчисления, размер которых не разглашается. |
 |
 |
| "Яндекс.Браузер" загрузили миллион раз
| Apple переманила из Samsung разработчика процессоров
|
 |
| В США отменили запрет на продажу смартфонов Galaxy Nexus
| Глава Microsoft выступит перед российскими студентами
|
 |
| Samsung показала мини-версию Galaxy S III | Названа российская цена на планшет Nexus 7 |
 |
 |
| Lenovo отобрала у HP титул крупнейшего производителя компьютеров | СМИ назвали сроки выхода MS Office для Android и iOS |
 |
 |
| Samsung уменьшит Galaxy S III | "Вконтакте" обзавелась собственным инстаграмом |
 |
 |
| Китайцы освоили выпуск USB-аксессуаров для iPhone 5 | Браслет превратит пальцы руки в игровой контроллер |
 |
 |
| Читалку за 10 евро заставили работать год от двух батареек | Выход iOS 6 увеличил популярность "Яндекс.Карт" |
 |
 |
| "Официальную электронную почту" россиян привяжут к домашнему адресу | Apple, Facebook и создатели браузеров открыли "энциклопедию веб-стандартов" |
 |
 |
| Анонсирован планшет со встроенным проектором | Microsoft по ошибке уличила в пиратстве "Википедию" и CNN |
 |
 |